Запасные части ЧТЗ Запасные части ЧТЗ
Астана
Например:
Актобе
Алдан
или
Выбрать автоматически
Актобе
Алдан
Алматы
Алчевск
Архангельск
Астана
Астрахань
Атырау
Баку
Балашиха
Барнаул
Белгород
Бердянск
Бишкек
Владивосток
Владикавказ
Воркута
Воронеж
Горловка
Грозный
Донецк
Екатеринбург
Иваново
Ижевск
Иркутск
Казань
Калининград
Каменск-Уральский
Караганда
Каховка
Кемерово
Киров
Комсомольск-на-Амуре
Костанай
Краснодар
Красноярск
Красный луч
Ленск
Луганск
Магадан
Магнитогорск
Макеевка
Махачкала
Мелитополь
Минск
Мирный (Якутия)
Москва
Мурманск
Нерюнгри
Нижневартовск
Нижний Новгород
Нижний Тагил
Новая каховка
Новокузнецк
Новосибирск
Новый Уренгой
Норильск
Ноябрьск
Нур-Султан
Омск
Оренбург
Ош
Павлодар
Пермь
Петрозаводск
Петропавловск
Петропавловск-Камчатский
Псков
Ростов-на-Дону
Салехард
Самара
Санкт-Петербург
Саратов
Севастополь
Семей
Симферополь
Сочи
Ставрополь
Сургут
Сыктывкар
Тараз
Ташкент
Токмак
Томск
Тында
Тюмень
Ульяновск
Усинск
Усть-Каменогорск
Уфа
Хабаровск
Ханты-Мансийск
Херсон
Челябинск
Чита
Шымкент
Экибастуз
Энергодар
Южно-Сахалинск
Якутск
Ваш город
Астана
Войти
Запасные части к тракторам на одном сайте
+7 (932) 303-00-10
+7 (932) 303-00-10
г. Астана, ул. Жанажол, д. 19
Пн-Пт: 9:30-18:30 Cб-Вс: Выходной
Отправить заявку


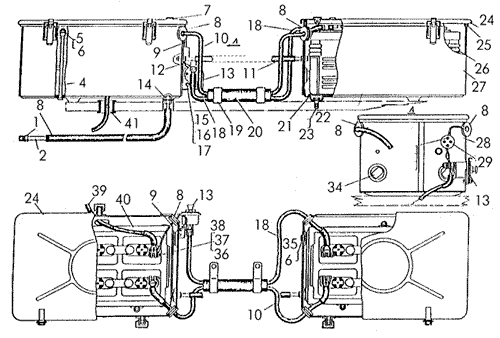
Установка аккумуляторных батарей на тракторах с электростартерной системой пуска (ЭССП) на Т-170


/
с НДС 20%
Описание
Установка аккумуляторных батарей Т-170 на тракторах с электростартерной системой пуска (ЭССП)
Поз.НаименованиеАртикулКол-во в сборке
0Батарея аккумуляторная для тропиков6СТ-182ЭМСТ2
0Установка аккумуляторных батарей50-10-394СП1
0Штепсельная розетка для тропиков47К-Т1
0Штуцер50-10-799СП1
1Ниппель411814
2Трубка50-10-964
3Шланг700-46-2161-011
4Стяжка50-10-1326
5ГайкаМ10Х6.0196
6Шайба31308-112
7Пистон700-40-55652
8Втулка700-40-74194
9Провод 7750-10-421СП1
10Провод 1950-10-279СП1
11Шланг700-46-21611
12Провод21-10-213СП1
13Выключатель массы ВК-318Б1
14Гайка 30103
15БолтМ6Х16.58.0193
16ГайкаМ6Х6.0193
17Шайба6Т65Г093
18Провод 15350-10-285СП1
19Скоба700-41-33452
20ТрубкаТВ-40-230-141
21Прокладка700-40-70432
22БолтМ12Х30.58.0198
23Шайба12ОТ65Г098
24Крышка50-10-400СП2
25Прокладка700-40-70552
26Батарея аккумуляторная6СТ-182ЭМС2
27Контейнер50-10-430СП1
28Контейнер50-10-431СП1
29Штепсельная розетка47К-Э1
30ШайбаШайба2
31Шайба3Т65Г062
32ГайкаМ3Х6.0192
33ВинтВ.2М3-6gХ25.58.0192
34Амортизатор700-40-37278
35Пистон700-42-23004
36Болт28484
37ГайкаМ8Х6.0194
38Шайба8Т65Г094
39Провод 2250-10-294СП1
40Рамка50-10-346СП2
41Кольцо700-40-31401
Установка аккумуляторных батарей на тракторах с электростартерной системой пуска (ЭССП)